| 일 | 월 | 화 | 수 | 목 | 금 | 토 |
|---|---|---|---|---|---|---|
| 1 | 2 | 3 | 4 | |||
| 5 | 6 | 7 | 8 | 9 | 10 | 11 |
| 12 | 13 | 14 | 15 | 16 | 17 | 18 |
| 19 | 20 | 21 | 22 | 23 | 24 | 25 |
| 26 | 27 | 28 | 29 | 30 |
- 소크라테스익스프레스
- 정지현코치
- 김영하북클럽
- 마음챙김
- 코칭추천책
- 코칭컬럼
- 북리뷰
- 사춘기코칭
- 정지현컬럼
- 맹신자들
- ICF
- 프레즌스
- 완전한행복
- 코칭심리
- 영성코칭
- LMX
- 모닝페이지
- 코칭발전소
- 책추천
- 국제코치연맹
- 대중운동심리
- 디팩초프라
- 정신분석
- 정지현북리뷰
- 감정의발견
- 코칭자격
- 논문리뷰
- 코칭심리학
- 코칭경영원
- StrengthFinder
- Today
- Total
코칭발전소
[논문 리뷰+성찰] 코치-피코치, 좋은 관계가 곧 성과는 아니다. 본문
[논문 리뷰+성찰] 코치-피코치, 좋은 관계가 곧 성과는 아니다.
빈칸을 채워주는 사람 2026. 3. 4. 09:58○ 제목: It's a match! The role of coach–coachee fit for working alliance and effectiveness of coaching
○ 저자: Lara Solms | Annelies E. M. van Vianen | Barbara Nevicka | Jessie Koen | Matthijs de Hoog | Anne P. J. de Pagter (2025)
○ 저널: Journal of Occupational and Organizational Psychology
○ DOI: https://doi.org/10.1111/joop.12523
그런 경험이 많다. 이 고객은 나랑 정말 잘 맞아~! 싶은..
관심사가 비슷하거나, 스타일이 비슷하거나, 함께 이야기하면 시간 가는줄도 모르게 되는
그리고 반대도 있다.
아주 당연하게도, 잘 맞는(fit) 고객과의 만남이라면, 관계 형성이 좋아지고, 코칭도 잘 될것이라는 믿음.
그 희망적인 가설에 찬물을 끼얹는 논문을 발견하였다.
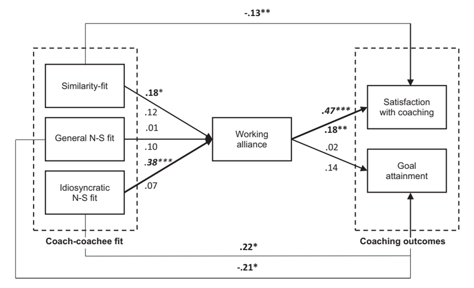
○ 문제의식: 코칭에서 작업 동맹(working alliance: 코치와 코치 대상자간의 상호 신뢰와 호감, 목표와 과제에 대한 합의)은 코칭 성공에 결정적 역할(Graßmann & Schermuly, 2020; Molyn et al., 2021) but, 구체적 연구가 별루 없었지..
**적합성 이론(fit theory): 개인-환경(P-E) fit: 사람들은 자기 특성에 맞는 환경을 추구하려 한다(van Vianen, 2018).
- 개인-조직, 개인-상사 fit 연구로 발전
- 1) 보충적 적합성(supplementary fit): 비슷한 사람들끼리 끌리는 것(가치관, 성격, 배경 등)
- 2) 보완적 적합성(complementary fit): 부족한 부분을 채워주는 관계(내 욕구를 네가 채워줘)
- 연구자들의 가설: 코치-피코치 둘이 비슷하거나, 니즈를 만족시켜주는 코치라면 피코치와의 작업동맹이 공고해지지 않을까? 그럼 코칭 성과도 높아지겠지!
○ 방법
- 코칭 대상자: 전공의 포함, 의사들 184명(실제는 600여명, time3 측정치까지 살아남은 사람만 포함)
- 코치: 의료 현장 코칭 경험이 있는 인증코치 36명
- 회기/방법: 평균 6회 (실제 4~8회기, 10개월) / 대면+비대면
- 측정 시기 & 내용
T1(코칭 전): 피코치가 선호하는 코치의 특성 기술, 목표달성도(현재수준)
T2(코칭 중, 3회기 후): 코치-피코치 유사성, 일반 적합도, 고유한 적합도, 작업동맹(둘다)
T3(코칭 종료 1개월 후): 피코치의 목표달성도와 코칭 만족도
○ 결과

- 가설 11개(매개효과 검증) 중 1개만 지지되고 무참히 박살남 ㅜㅜ
- 살아남은 것: 고유한 니즈를 충족시켜준 관계에 대한 지각 --> 작업동맹 높 --> 코칭 만족도 높
- 안타까운 것: 코칭 만족도로 가는 경로는 유의한데, 목표달성(성과)는 별이 안뜬다.
○ 논의
- 코칭 초기 단계에는 유사성이 편안함/안정감을 만들어서 동맹을 높일 수 있음. 하지만 코칭이 진행되면서 피코치가 다른 관점이 필요해지고, 새롭고 도전적인 행동을 실험해야 하는 단계가 오면, 너무 비슷한 코치는 자극/도전/확장에 불리할 수 있음.
- 코칭에서 코치-피코치의 닮은 속성(유사성)이 아니라 피코치에게 개인적으로 의미있는 속성이 실제로 충족되는지 ‘고유한 N-S fit)이 더 중요함
- 코칭 초기 단계에는 유사성이 편안함/대인적 안정감을 만들어서 동맹을 높일 수 있다. 그러나 목표달성 같은 변화 성과는 결국 ‘코치가 실제로 무엇을 하느냐(what the coach does)’—예: 성찰을 촉발하고, 의도를 행동으로 바꾸게 돕는 개입—가 더 중요.
- 과거 매칭이 성별/성격 등 유사성 기반에 기대거나, “대체로 좋은 코치 특성” 같은 broad attribute 중심으로 이뤄져 왔는데, 이런 방식은 코칭 성공에 도움이 안 될 수 있음
○ 성찰:
1) 이 논문에서 본 가장 충격적인 데이터는 코치-피코치 작업동맹을 각각 응답했는데, 상관이 .27임. 별은 떴으나.. 수치가 넘 낮음. 이건 마치 미용실에서 머리 다 하고, 고객님 만족하시나요? 했을 때 웃으면서 네~ 하고 나온 나의 모습이 떠올랐다. 그러니까 동상이몽과 같은 것이다. 어쩌면 만족스럽게 마무리되었다고 안심한 코칭 관계도 실제로는 어땠는지 모른다.
2) 코칭 성과를 다르게 측정해야 한다. 이 말인 즉슨 broad 한 목표보다 실행 위주의 측정을 하면 더 나은 결과가 나오지 않았을까
3) 닮은 사람보다, 내 니즈를 충족시켜줘야 하는 것 맞는 말이다. 어찌되었든 고객은 고객. 그럴려면 코칭 초반의 니즈탐색이 매우 중요해진다.
4) 이 논문에서 코칭은 2019~2023년, 투고는 2023년, 게재수락은 2024년, 실제 게재는 2025년.. 아오.. 개고생하셨네.. 여러분, 현장연구가 이렇게 어렵습니다. 귀한 논문을 보게되어 감사하다.
'Apply (Coaching + Psychology) > 코치를 위한 심리학' 카테고리의 다른 글
| [논문 리뷰+성찰] 진짜 코칭에서 나오는 질문들, 궁금하지? (0) | 2026.03.17 |
|---|---|
| [논문 리뷰+성찰] 임원 코칭, 코치의 배경(background)이 중요한가? (0) | 2026.03.10 |
| [논문 리뷰+성찰] 코치의 성장을 위해서는? skill up 보다 '자기 인식' (0) | 2026.02.11 |
| 코칭은 왜 앞으로 나아가라고 하는가?_코칭 모델의 힘 (0) | 2024.03.27 |
| 노포 맛집의 현대화_코칭심리학 탄생기 (0) | 2021.09.28 |